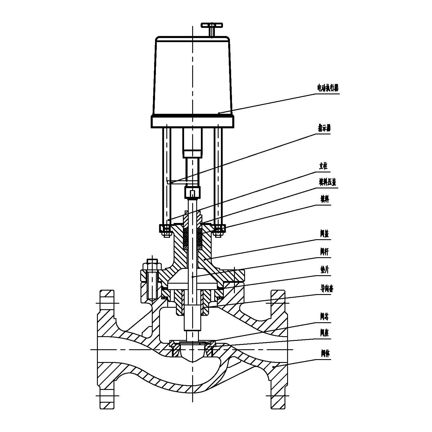
ZDLPM型電子式電動單座、套筒調節閥
概述:ZDLP、 ZDLM型電子式電動單座、 套簡調節閥,接受調節儀表傳來的直流電流信號,改變被調介質流量,使被控工藝參數保持在給定值。廣泛應用于電力、冶金、化工、石油、輕紡、制藥、造紙等工業部門的生產自動化控制。
本系列產品公稱通徑由20至300mm,公稱壓力有1.6、4.0、 6.4MPa. 接受信號為0-10mA.DC或4-20mA.DC.使用溫度范圍由-40。C-+450.C。其中電動單座調節閥適用于壓差較小,介質粘度較大或稍有顆粒雜質場合;電動套筒調節適用于壓差較大且泄漏較大的場合。
| 主要技術參數和性能指標 | |||||||||||||||||
| 公稱通徑DN(mm)(閥座通徑(DN) | 20 | 25 | 32 | 40 | 50 | 65 | 80 | 100 | 125 | 150 | 200 | 250 | 300 | ||||
| (10) | (12) | (15) | (20) | ||||||||||||||
| 額定流量Kv | 直線 | 1.8 | 2.8 | 4.4 | 6.9 | 11 | 17.6 | 27.5 | 44 | 69 | 110 | 176 | 275 | 440 | 690 | 1100 | 1760 |
| 等百分比 | 1.6 | 2.5 | 4 | 6.3 | 10 | 16 | 25 | 40 | 63 | 100 | 160 | 250 | 400 | 630 | 1000 | 1600 | |
| 額定行程L (mm) | 10 | 16 | 25 | 60 | 100 | ||||||||||||
| 公稱壓力PN (Mpa) | 1.6、4.0、6.4 | ||||||||||||||||
| 固有流量特性 | 直線、等百分比 | ||||||||||||||||
| 固有可調比R | 50: 1 | ||||||||||||||||
| 允許泄漏量 | 單座 | 硬密封: IV級、軟密封: IV級 | |||||||||||||||
| 套筒 | 硬密封: IV級、軟密封: IV級 | ||||||||||||||||
| 工作溫度t(。C) | -20~200、-40~250、-40~450、-60~450 | ||||||||||||||||
| 信號范圍(DC) | 0-10MA、 4-20MA、 1-5V、0-10V | ||||||||||||||||
| 電源電壓 | 220V、 50HZ | ||||||||||||||||
| 作用方式 | 電開式、電關式 | ||||||||||||||||
| 信號故障時閥狀態 | 全開、全關、保位 | ||||||||||||||||
| 注:本產品性能指標貫徹GB/T4213-92 | |||||||||||||||||